ЛС-П52С
Доступен для скачивания
краткий каталог продукции:
Лампы светодиодные сигнальные полицветные на винтовом креплении ЛС-П52С предназначены для визуальной или визуально-звуковой индикации статуса контролируемого процесса
Особенности:
- Плафон не имеет собственного цвета (прозрачный), поэтому изменение цвета башни при подаче питания более заметно и эффективно, чем при включении ламп с цветным плафоном
- Крепление на винты/саморезы
- Крепление плафона: зажим-паз
- Режим работы: постоянное свечение
- Области применения: промышленная сигнализация, авиация (аэродромные и заградительные огни), охранная сигнализация
Технические характеристики:
| Параметр | Значение | ||
| Цвет
| Три основных: красный, зеленый, желтый
Один дополнительный: оранжевый | ||
| Диаметр лампы
| 52 мм
| ||
| Питание
| ~220 В
| ≅24 В
| ≅12 В
|
| Мощность
| 14 ВА
| 1 Вт
| |
| Громкость сирены
| 60 дБ
| ||
| Крепление
| Винты/саморезы
| ||
| Крепление плафона
| Зажим-паз
| ||
| Степень пылевлагозащиты | IP54 со стороны плафона (при условии расположения плафона вертикально)
| ||
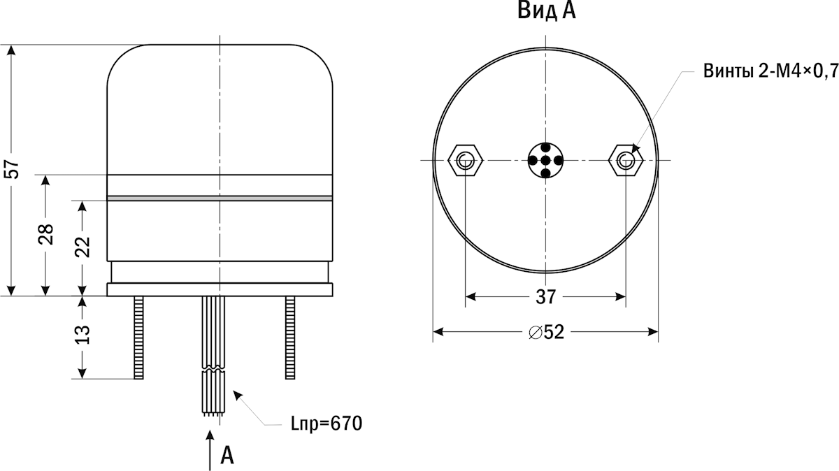
| Габаритные размеры | ∅52×57 мм
| ||
| Вес
| 77 г
| ||
| Габаритные размеры |
![]() |
Версия: 2026-01-21-СДГ
| Документ | Дата обновления |
| Паспорт на ЛС-П52С | 22.01.2026 |

